中国航发北京航空材料研究院
北京石墨烯技术研究院有限公司
一种各向异性石墨烯金属复合导线及其制备方法
申请日 2018-04-04
申请公布日 2018-10-30
授权公告日 2023-06-30
申请号 CN201810299856.1
申请公布号 CN108717887A
授权公告号 CN108717887B
分类号 H01B13/008;H01B1/04;H01B1/02
本发明提供了一种具有各向异性微结构的石墨烯/金属复合导线及其制备方法,该方法包括将涂布石墨烯的金属箔卷成卷或层叠,再热压或热等静压,最后进行挤压拉丝得到石墨烯/金属复合导线。本发明制得的各向异性石墨烯复合金属复合导线的金属相与石墨烯相紧密堆积,保持了重复交错的周期性排列结构,石墨烯层与金属层均平行于卷带的轴向或层叠的平面方向,使取向方向上导电、导热和力学性能都得到了显著的提升。

太原赛因新材料科技有限公司
山西大学
一种快速焦耳热制备掺杂石墨烯的方法及掺杂石墨烯
申请日 2023-05-16
申请公布日 2023-06-30
申请号 CN202310554018.5
申请公布号 CN116354341A
分类号 C01B32/194
本发明属于纳米材料制备领域,具体涉及一种快速焦耳热制备掺杂石墨烯的方法及掺杂石墨烯。该方法是通过脉冲放电产生焦耳热,使石墨烯和含掺杂元素的化合物组成的混合物快速升温并降温,得到所述掺杂石墨烯。本发明方法可以低成本高效率地生产不同元素掺杂的改性石墨烯,能够更好地满足石墨烯添加到不同基材的要求。

山东欧铂新材料有限公司
一种用于导电油墨的石墨烯油性分散液及制备方法、应用
申请日 2019-12-30
申请公布日 2021-07-16
授权公告日 2023-06-30
申请号 CN201911403634.0
申请公布号 CN113120887A
授权公告号 CN113120887B
分类号 C01B32/19;C09D11/52;C09D11/03;C09D11/104
本发明提供了一种石墨烯油性分散液,按原料质量百分比,由以下成分组成,0.1~10重量份的膨胀石墨、0.1~5重量份的分散剂、0~8重量份的导电剂以及80~120重量份的溶剂;所述溶剂包括酯类溶剂、酮类溶剂和醇类溶剂中的一种或多种。本发明以膨胀石墨为石墨烯原料,以特定溶剂为基体,通过助剂的选择以及各自特定的比例,得到了石墨烯油性分散液。在该油性分散液,石墨烯不仅能够保持片状结构均匀的分散在特定的油性石墨用有机溶剂中,而且得到的是大片径的石墨烯,且保持片状结构,不团聚,不卷曲,具有较好的稳定性和分散性,更好的发挥了石墨烯的性能,还无需置换溶剂,可以直接用于油墨,更有利于工业化的大规模推广和应用。
徐州多希石墨烯材料科技有限公司
一种氧化石墨烯加工用生产混合装置
申请日 2023-03-28
申请公布日 2023-06-30
申请号 CN202310313960.2
申请公布号 CN116351345A
分类号 B01J19/00;B01J4/00;B01D53/04
本发明涉及氧化石墨烯生产技术领域,具体为一种氧化石墨烯加工用生产混合装置,包括机架、进料机构、净化机构和换热机构。本发明通过在混合罐上方的左侧设置进料机构,其中进料机构的内部还分别设置了计量组件、输入组件,利用计量组件对反应试剂进行精确的计量处理后,在向混合罐内部通入试剂时利用输入组件控制试剂的通入速率,避免过快的通入试剂使混合罐内部出现快速升温,保障混合罐内部氧化石墨烯生产加工的安全性,另外通过净化机构对混合罐中产生的气体进行净化处理,通过换热机构对混合罐中氧化石墨烯生产加工过程中产生的多余热量进行热交换回收再利用,实现热能资源的重复利用,减少能源的浪费。

中国科学院上海硅酸盐研究所
恒力盛泰(厦门)石墨烯科技有限公司
一种亲疏水可控的硫化多孔石墨烯材料及其制备方法
申请日 2021-12-24
申请公布日 2023-06-27
申请号 CN202111600677.5
申请公布号 CN116328745A
分类号 C10B53/00;B01J20/20;C10B57/08;B01D53/02;B01J20/30;B01J20/28
本发明涉及一种亲疏水可控的硫化多孔石墨烯材料及其制备方法。所述亲疏水可控的硫化多孔石墨烯材料的制备方法包括:(1)将植物油、硫磺粉和熔融石英粉体混合后进行硫化处理,得到产物A;(2)将硫化后的固体在惰性气氛中、700℃~900℃下碳化3~12小时,得到产物B;(3)将碳化后材料经过破碎和过筛,先在120~350℃的碱溶液中浸泡2~12小时,再进行清洗和干燥,得到硫化石墨烯;(4)将硫化石墨烯、氧化石墨烯和去离子水混合并进行冷冻干燥,得到亲疏水可控的硫化多孔石墨烯材料。

浙江道明超导科技有限公司
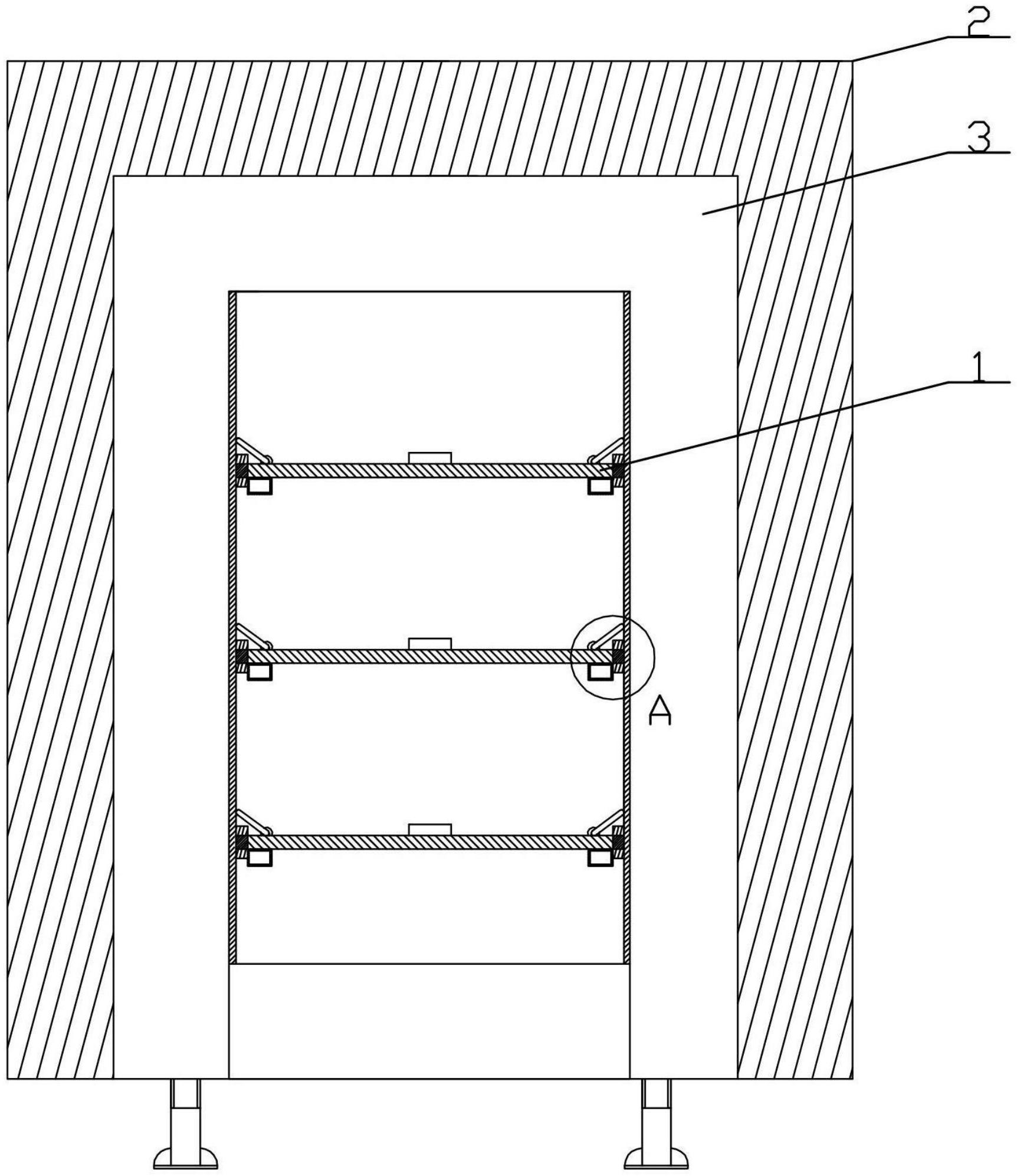
一种烘箱抽层结构
申请日 2022-11-18
授权公告日 2023-06-27
申请号 CN202223066889.2
授权公告号 CN219264740U
分类号 F26B25/06;F26B21/00;F26B9/06
本实用新型公开了一种烘箱抽层结构,包括抽层、烘箱,烘箱内设置有烘箱单元,烘箱单元设置有两组以上的烘箱滑轨,抽层设置有抽层滑轨,抽层滑轨与烘箱滑轨配合。通过抽层将需要烘干的产品在烘箱单元内隔开,不仅有效利用了烘箱单元内的空间,而且即使其中一层的产品出现问题也不会对其他产品产生影响,大大提高了产品的烘干效率。

福建烯望新材料科技有限公司
一种用于涂布生产石墨烯导热膜的滤布基材
申请日 2022-12-30
授权公告日 2023-06-23
申请号 CN202223603202.4
授权公告号 CN219231725U
分类号 B01D39/08;D03D13/00;D03D5/00
本实用新型涉及一种滤布,尤其涉及一种用于涂布生产石墨烯导热膜的滤布基材,包括两个以上成膜网格区以及用于分隔相邻两个成膜网格区的分隔带;所述成膜网格区由单丝经线和复丝纬线编织而成;所述分隔带由单丝经线和单丝纬线编织而成。本实用新型提供的用于涂布生产石墨烯导热膜的滤布基材能够减少石墨烯导热膜裁切损耗,提高原料利用率。

一种石墨烯卷材预处理夹具
申请日 2022-12-30
授权公告日 2023-06-23
申请号 CN202223599983.4
授权公告号 CN219244216U
分类号 F26B25/16;F26B25/12;C01B32/194
本实用新型公开了一种石墨烯卷材预处理夹具,属于夹具技术领域,该装置包括内卷筒,以及套接在内卷筒外侧的上壳体和下壳体;内卷筒上设有两个第一循环液接口;上壳体和下壳体上均设有两个第二循环液接口;第一循环液接口贯穿上壳体或下壳体设置;内卷筒、上壳体和下壳体上均设有透气孔;通过将恒定温度的液体注入相互套接的内卷筒、上壳体和下壳体的内部,即可为缠绕在内卷筒上的石墨烯卷材提供恒定的温度条件,且再配合通气孔,便可将预处理时所产生的气体排出;有效解决了现有的预处理夹具,容易因温度波动大,以及气体排放不顺畅而导致的石墨烯卷材爆裂以及分层的问题。

一种石墨烯卷材烧结夹具
申请日 2022-12-30
授权公告日 2023-06-23
申请号 CN202223601337.7
授权公告号 CN219244276U
分类号 F27D5/00
本实用新型公开了一种石墨烯卷材烧结夹具,属于烧结夹具技术领域,该装置包括第一石墨柱,以及至少两个套接在第一石墨柱上的分隔板;位于分隔板之间的第一石墨柱上还套接有D形垫片;第一石墨柱为实心结构;将用于固定分割板的常规插销结构更换为与第一石墨柱套接的D形垫片,有效地将原有的分隔板与插销之间的剪切力转变为分隔板与D形垫片之间平面挤压力,从而增大了受压面积,均匀分摊压力,再搭配上实心的石墨柱,即可达到提高整体强度的作用;有效解决了现有的烧结夹具,因需要在石墨柱上设置插销定位孔来固定分隔板,从而导致石墨柱的强度降低,进而缩短了夹具的使用寿命的问题。

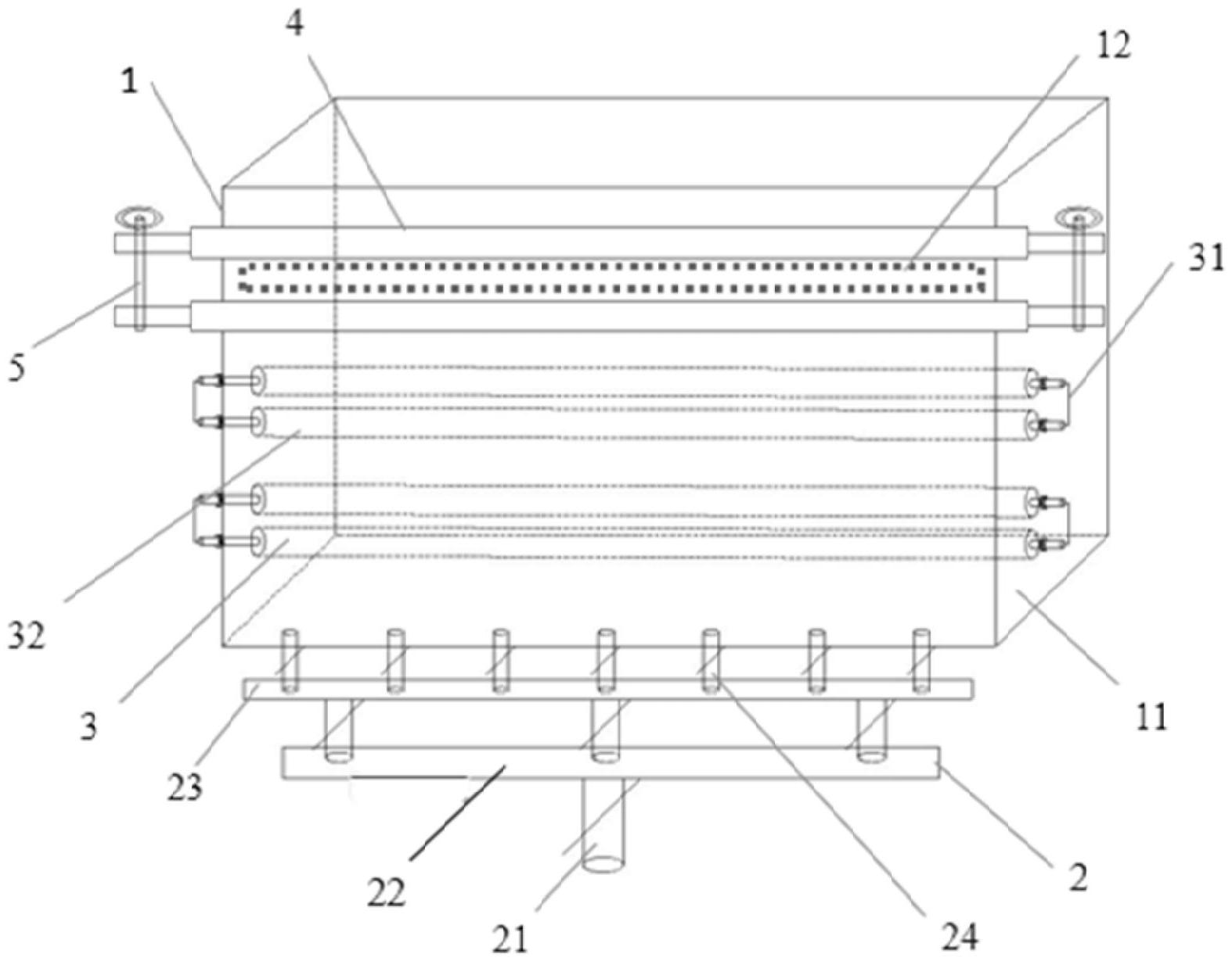
一种碳化炉的抽滤装置
申请日 2022-12-30
授权公告日 2023-06-23
申请号 CN202223594434.8
授权公告号 CN219231794U
分类号 B01D46/24
本实用新型公开了一种碳化炉的抽滤装置,属于过滤设备技术领域,该装置包括进气管道、出气管道,以及带有顶盖的过滤罐;过滤罐内由下至上依次设有相互连接的滤芯底座、滤芯和滤芯上盖;出气管道的一端贯穿滤芯上盖位于滤芯内部,另一端位于过滤罐的外侧;进气管道的一端朝向滤芯设置,另一端位于过滤罐外侧;该设计保证由进气管进入过滤罐的气体,必须经过滤芯的过滤后才能沿滤芯内部的出气管道排出过滤罐;有效解决了现有的抽滤装置,容易将杂质随气流导入到抽气装置内,使得抽气装置中的油质乳化,从而导致抽气装置出现腐蚀的问题。

一种用于刮刀涂布生产石墨烯导热膜的给料槽
申请日 2022-12-30
授权公告日 2023-06-23
申请号 CN202223602733.1
授权公告号 CN219232949U
分类号 B05C11/11;B05C11/10;B05C5/02
本实用新型涉及石墨烯导热膜生产加工领域,尤其涉及一种用于刮刀涂布生产石墨烯导热膜的给料槽,包括给料槽槽体、多级分流进料管和摊平旋转辊组;所述给料槽槽体的内部设有稳压料腔;所述稳压料腔的底部与多级分流进料管连通;所述稳压料腔的侧壁设有狭缝出料口;两组以上所述摊平旋转辊组在稳压料腔内自靠近多级分流进料管处向靠近狭缝出料口处间隔设置。本实用新型对逗号刮刀上料方式进行了改进,设计了一款高度适配的料槽,为石墨烯膜涂布方式选择纾困,提高了上料均匀性。

重庆石墨烯研究院有限公司
一种石墨烯电极板
申请日 2022-11-18
授权公告日 2023-06-23
申请号 CN202223064522.7
授权公告号 CN219246722U
分类号 H01M4/14
本实用新型涉及电池技术领域,具体涉及一种石墨烯电极板,包括板栅架和涂覆在板栅架上的活性物质,板栅架的内部设有多个腔室,板栅架的端部的侧面上设有与腔室连通的腔室口部,板栅架上设有和腔室连通的多个连通孔,腔室中填充有导热芯,导热芯延伸到腔室口部,导热芯的成分包含有石墨烯。本方案提高了电极板的导热、传热能力。

华侨大学
厦门凯纳石墨烯技术股份有限公司
一种石墨烯/钼酸铵协同改性PVC复合材料及其制备方法和应用
申请日 2023-03-27
申请公布日 2023-06-30
申请号 CN202310301158.1
申请公布号 CN116355326A
分类号 C08L27/06;C08K3/04;C08K3/24
本发明属于复合材料制备技术领域,具体涉及一种石墨烯/钼酸铵协同改性PVC复合材料及其制备方法和应用。本发明使用球磨法,将石墨粉、钼酸铵和PVC树脂共同球磨,可以在机械剥离石墨烯的同时,将石墨烯包覆在PVC树脂表面,实现石墨烯在PVC树脂中均匀分散,同时钼酸铵均匀分散在PVC树脂中。本发明添加少量的石墨烯/钼酸铵,即可显著提高PVC树脂的热稳定性。本发明提供的制备方法将石墨烯和钼酸铵二者配合起来,协同作用,形成石墨烯/钼酸铵协同改性PVC复合材料,充分发挥了二维材料在热学和物理屏障等方面的作用,同时钼酸铵的添加抑制了PVC树脂热分解的作用。

厦门凯纳石墨烯技术股份有限公司
一种星形聚氨酯与氧化石墨烯复合材料、制备方法及应用
申请日 2023-04-20
申请公布日 2023-06-30
申请号 CN202310428294.7
申请公布号 CN116355166A
分类号 C08L95/00;C08L75/04
本申请公开了一种星形聚氨酯与氧化石墨烯复合材料、制备方法及应用,包括将二元伯胺、环氧化合物、ε‑己内酯和二异氰酸酯进行反应,得到星形聚氨酯;将氧化石墨烯和所述星形聚氨酯进行反应,得到星形聚氨酯与氧化石墨烯复合材料。本申请通过星形聚氨酯对氧化石墨烯进行改性,使得星形聚氨酯与氧化石墨烯复合材料易于在沥青中分散均匀,减少分散时间,且星形聚氨酯分子不易缠结,应用于沥青体系时能够发生溶胀与沥青分子形成贯穿网络结构,星形聚氨酯的软段结构能够有效提升沥青体系的低温性能。

一种抗静电母料制备方法及抗静电母料
申请日 2021-12-02
申请公布日 2022-01-21
授权公告日 2023-06-23
申请号 CN202111463260.9
申请公布号 CN113956652A
授权公告号 CN113956652B
分类号 C08L77/02
本申请公开了一种抗静电母料制备方法,所述方法包括以下步骤:S1:将15‑25重量份的尼龙颗粒溶解于85‑115重量份的高浓度甲酸溶液中,静置,过滤,得到尼龙/甲酸溶液;S2:将45‑55重量份的氧化石墨烯溶液与45‑55重量份的高浓度甲酸溶液中混合均匀,超声处理,得到氧化石墨烯/甲酸溶液;S3:在常温下,将氧化石墨烯/甲酸溶液缓慢加入尼龙/甲酸溶液中,搅拌均匀,得到尼龙/氧化石墨烯/甲酸混合液;S4:以预设搅拌速度搅拌尼龙/氧化石墨烯/甲酸混合液,在搅拌过程中缓慢加入90‑110份的乙醇,以析出尼龙/氧化石墨烯,过滤得到尼龙/氧化石墨烯絮状物。

一种改性石墨烯复合金属材料及其制备方法
申请日 2023-03-22
申请公布日 2023-05-02
授权公告日 2023-06-16
申请号 CN202310284803.3
申请公布号 CN116043054A
授权公告号 CN116043054B
分类号 B22F3/10;B22F3/04
本发明公开了一种改性石墨烯复合金属材料及其制备方法,涉及复合材料制备技术领域,本发明将稀土化合物溶于乙醇溶剂中,调节适宜pH后加入石墨烯或氧化石墨烯进行超声分散,再加入水合肼、乙二胺等制备改性石墨烯;将改性石墨烯与金属粉体分别制成分散液,混匀,超声分散后经抽滤、干燥得改性石墨烯复合金属混合粉体,粉体经过成型、烧结,制得改性石墨烯复合金属材料;本发明提供的制备方法,工艺简单,耗时短,成本低,制备的改性石墨烯复合金属材料具有优异力学性能与导热性能,适用于工业化生产。
常州富烯科技股份有限公司
一种石墨烯材料及其制备方法和导热垫片
申请日 2022-08-05
申请公布日 2022-10-11
授权公告日 2023-06-30
申请号 CN202210938687.8
申请公布号 CN115159511A
授权公告号 CN115159511B
分类号 C01B32/184;C09K5/14;C01B32/194
本方案公开了一种石墨烯材料及其制备方法和导热垫片,在基材表面涂布氧化石墨烯浆料,涂布后设置第一层模板;基材与第一层模板之间的氧化石墨烯浆料干燥形成第一层氧化石墨烯涂层;在第一层模板上涂布氧化石墨烯浆料,涂布后设置第二层模板;第一层模板与第二层模板之间的氧化石墨烯浆料干燥形成第二层氧化石墨烯涂层;重复涂布氧化石墨烯浆料、设置模板和干燥的步骤至预定厚度获得氧化石墨烯坯料;对坯料进行热处理,获得由多层石墨烯层构成、在上下相邻石墨烯层间存在层状空隙及在层状空隙间分布有多个石墨烯柱状物的石墨烯材料;其中,模板为发泡材料;模板上沿厚度方向设有贯穿模板的通孔。将石墨烯材料用于制备增强复合材料,简单易行。

石墨烯金属复合散热器
申请日 2022-10-27
授权公告日 2023-06-27
申请号 CN202222871608.4
授权公告号 CN219269382U
分类号 H05K7/20
本实用新型提供石墨烯金属复合散热器,包括散热底座及与散热底座连接的至少一片石墨烯金属复合散热翅片,所述石墨烯金属复合散热翅片包括多片石墨烯导热片,相邻石墨烯导热片相对的外表面涂覆有金属层,相邻金属层之间通过第一连接层连接。本实用新型所述石墨烯金属复合散热器采用石墨烯金属复合散热翅片,其金属层不仅提升了石墨烯导热片的表面反应活性还提升石墨烯导热片的强度,还通过第一连接层连接相邻的涂覆有金属层的石墨烯导热片,使得多层石墨烯导热片紧密结合,使得散热器散兼具轻量化和高散热效率。

一种石墨烯均温板及其制备方法和设备
申请日 2023-03-15
申请公布日 2023-06-27
申请号 CN202310250643.0
申请公布号 CN116336846A
分类号 F28F21/02;B22F3/10;F28F9/007;B23P15/26;H05K7/20
本方案公开了一种石墨烯均温板及其制备方法和设备,所述均温板包括:第一结构,由石墨烯膜制成,第一结构包括位于相对两侧的第一表面和第二表面;第二结构,由石墨烯膜制成,第二结构包括位于相对两侧的第三表面和第四表面;第一结构的第二表面的边缘与第二结构的第三表面的边缘连接,两个表面之间形成中空的腔体;支撑构件,分布于腔体中,用于支撑该腔体;液体工质,填充于腔体中;其中,第一结构或第二结构上设有用于抽真空的通孔;石墨烯膜的任一表面上皆形成有金属镀层;第一结构的第二表面和/或第二结构的第三表面上设有凹槽,凹槽内形成有毛细结构。该均温板具有较低的密度,可以减轻设备的重量;并具有良好的导热性。

二维石墨烯纤维、制备方法及应用
申请日 2022-01-26
申请公布日 2022-04-12
授权公告日 2023-06-23
申请号 CN202210095590.5
申请公布号 CN114318591A
授权公告号 CN114318591B
分类号 H01B5/14
本发明公开二维石墨烯纤维及其制备方法,包括:将氧化石墨烯浆料涂布至凹槽基材上,得到氧化石墨烯涂层,涂布的方向为X向;将氧化石墨烯涂层进行半干燥处理;将基材沿着另一平面方向Y向进行拉伸,将基材波浪状部位拉直,半干燥的氧化石墨烯涂层随之分裂成数根平行排列的纤维状涂层;进一步干燥处理至完全干燥后,从基材上剥离,得到氧化石墨烯纤维;将氧化石墨烯纤维进行碳化和石墨化处理,得到石墨烯泡沫纤维;将石墨烯泡沫纤维进行压延处理,得到二维石墨烯纤维。本发明还公开其应用。本发明微观上是规则的层状堆叠结构,孔隙率较小。

原创文章,作者:石墨烯网,如若转载,请注明出处:http://www.graphene.tv/2023070295455/
