江苏烯望新材料科技有限公司
一种石墨化炉炭黑保温材料的输送筛分系统
申请日 2022-04-21
授权公告日 2023-04-14
申请号 CN202220931093.X
授权公告号 CN218859784U
分类号 B08B15/02;B07B1/28;B65G53/24
本实用新型涉及一种石墨化炉炭黑保温材料的输送筛分系统,包括手持吸料枪、吸料管、真空上料机、真空管、真空泵、移动小车、旋振筛、缓存仓、升降臂、放料管、密封盖,采用以上构件搭配成两套系统,分别为吸料筛分系统和加料系统;工作人员手持吸料枪,利用真空泵产生的负压,通过真空上料机将炉体夹层内的炭黑粉体吸到自带料仓,然后由料仓落入下方的旋振筛,旋振筛启动后,对仓内粉体实施振动破碎以及筛分的过程,筛好的炭黑粉体,落入缓存仓,缓存仓配备震壁和搅拌功能,防止炭黑粉体团聚架桥,由真空泵产生的负压,将炭黑粉体再次吸入到真空上料机料仓,经放料管落入炉体夹层,整个流程只需一人即可实施,方便快捷。

哈尔滨万鑫石墨谷科技有限公司
一种石墨烯分散液及其制备方法和用途
申请日 2019-06-19
申请公布日 2019-08-16
授权公告日 2023-04-11
申请号 CN201910531321.7
申请公布号 CN110127683A
授权公告号 CN110127683B
分类号 H01M4/62
本发明涉及一种石墨烯分散液及其制备方法与用途,所述方法包括如下步骤:(1)均匀混合石墨烯与十六烷基三甲基溴化铵,得到表面功能化的石墨烯;(2)混合去离子水与步骤(1)所得表面功能化的石墨烯,第一次超声时加入表面活性剂,静置后第二次超声,得到混合均匀的混合液;(3)离心处理步骤(2)所得混合液,收集上层液体,得到分散液;(4)混合氢化钠与步骤(3)所得分散液,惰性气体保护下升温进行反应,冷却后得到所述石墨烯分散液。本发明所得石墨烯分散液中石墨烯均匀地分散于去离子水中,分散效率高,粘度低至4239cps,石墨烯结构完整,制备得到的石墨烯分散液的导电性能良好,电阻率低至38Ω·cm。
哈尔滨万鑫石墨谷科技有限公司
黑龙江省石墨谷产业集团股份有限公司
一种氮化碳-石墨烯复合材料及其制备方法和应用
申请日 2021-07-28
申请公布日 2021-11-02
授权公告日 2023-04-11
申请号 CN202110854914.4
申请公布号 CN113593924A
授权公告号 CN113593924B
分类号 H01G11/86
本发明提供了一种氮化碳‑石墨烯复合材料及其制备方法和应用,所述氮化碳‑石墨烯复合材料的制备方法包括以下步骤:(1)将三聚硫氰酸、硫脲与水混合搅拌,之后烘温得到块状物,将块状物粉碎升温并保温,得到硫掺杂多孔蜂窝状氮化碳;(2)将步骤(1)得到的硫掺杂多孔蜂窝状氮化碳分散得到氮化碳溶液,将其与石墨烯‑HCl分散液混合搅拌,得到所述氮化碳‑石墨烯复合材料。本发明提供的氮化碳‑石墨烯复合材料比容量高,表面反应活性高,导电性能强。

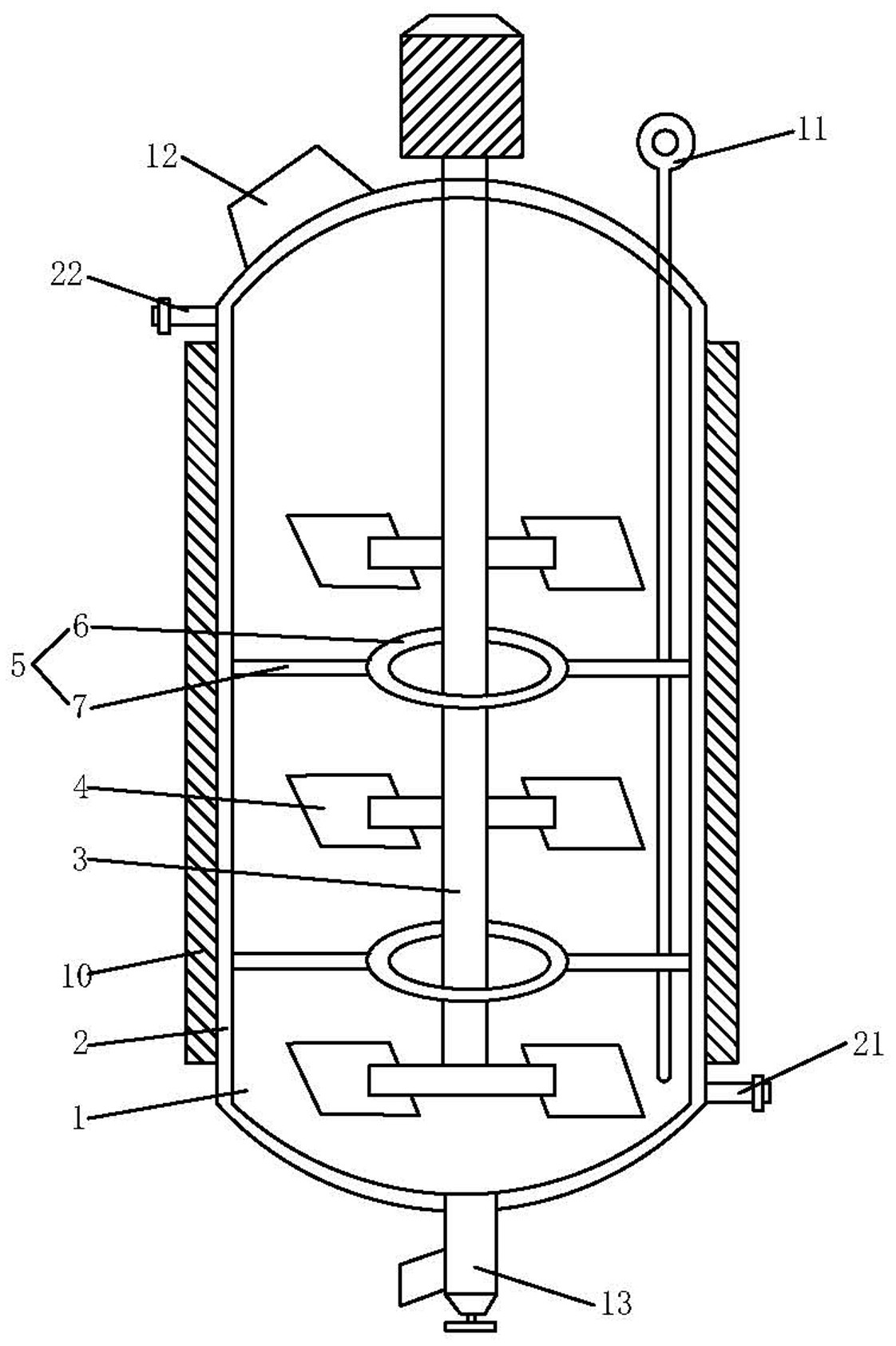
山东金利特新材料有限责任公司
一种生产氧化石墨烯用反应釜
申请日 2022-11-03
授权公告日 2023-04-11
申请号 CN202222919986.5
授权公告号 CN218834504U
分类号 B01J19/18
本实用新型涉及一种生产氧化石墨烯用反应釜,属于石墨烯生产装置领域,包括带有温控的釜体,釜体壁上设有供换热介质流通的夹套,釜体内安装有由搅拌轴带动的搅拌桨,其特征在于,所述搅拌釜内部设置有至少两组循环管,所述循环管均匀环绕在所述搅拌轴外周且循环管两端与夹套相连通;本实用新型能够有效解决釜内部物料与靠近釜壁的物料温差较大的问题,有利于提高所生产氧化石墨烯的品质。

一种含磷酸的废硫酸液的资源化利用方法
申请日 2022-01-17
申请公布日 2022-03-18
授权公告日 2023-04-07
申请号 CN202210051325.7
申请公布号 CN114195178A
授权公告号 CN114195178B
分类号 C01F11/46;C01B25/32;C01D3/04;C01D3/14
本发明涉及一种含磷酸的废硫酸液的资源化利用方法,属于废酸处理领域,准备目标物含磷酸的废硫酸液,检测其中的磷酸根含量和硫酸根含量;取与目标物中硫酸根等物质的量的碳酸钡,加入酸性溶液,充分搅拌制成碳酸钡浆料一号;取与目标物中磷酸根等物质的量的碳酸钡,加入酸性溶液,充分搅拌制成碳酸钡浆料二号;先将碳酸钡浆料一号缓慢加入到目标物中,去除硫酸根,再将碳酸钡浆料二号缓慢加入到步骤1)所得滤液中反应,控制体系pH在6.5‑7.5,去除磷酸根;通过特定的工艺顺序并在特定顺序添加相应的试剂,合理调节pH,不仅实现硫酸钡和磷酸钡的分步分离提纯,而且能够保证分步处理单一离子的同时又不影响其他离子的后续分离。
厦门凯纳石墨烯技术股份有限公司
用于离子电池的导电复合材料、导电浆料及制备方法
申请日 2021-11-30
申请公布日 2022-02-25
授权公告日 2023-04-11
申请号 CN202111451171.2
申请公布号 CN114085339A
授权公告号 CN114085339B
分类号 C08L51/10;C08F214/22;H01B13/00;H01M4/62;H01B1/12;C08F292/00
本申请涉及离子电池技术领域,特别涉及一种用于离子电池的导电复合材料、导电浆料及制备方法。方法包括:将1‑20重量份的石墨烯加入含有分散剂的100‑1000重量份的溶剂中,混合均匀,得到石墨烯分散液;在惰性气体气氛环境和预设压力条件下,向20‑100重量份的石墨烯分散液中加入20‑100重量份的偏氟乙烯单体、0.2‑1重量份的引发剂和0.01‑1重量份的pH调节剂,混合均匀,低温聚合反应一定时间,得到聚合产物;对聚合产物进行离心和干燥处理,得到聚偏氟乙烯/石墨烯导电复合材料。本申请能够有效提高导电复合材料和导电浆料的机械性能和电学性能,进而显著优化离子电池电学性能。

一种石墨烯导热膜及其制备方法和应用
申请日 2022-12-29
申请公布日 2023-04-04
申请号 CN202211705502.5
申请公布号 CN115893386A
分类号 C01B32/184;C01B32/198;C09K5/14
本发明涉及导热器件技术领域,尤其涉及一种石墨烯导热膜及其制备方法和应用。该石墨烯导热膜包括石墨烯管、石墨烯纳米球、分散剂、改性剂。本发明还提供了其制备方法。本发明还公开了制备的石墨烯导热膜在电子设备中的应用。与现有技术相比,本发明制备石墨烯导热膜修复石墨烯管之间存在的缝隙,使得石墨烯的导热通路畅通,增强石墨烯导热膜的导热性能、机械性能。
重庆石墨烯研究院有限公司
一种石墨烯复合膜及其制备方法
申请日 2022-12-19
申请公布日 2023-04-07
申请号 CN202211631814.6
申请公布号 CN115920661A
分类号 B01D69/10;B01D69/12;B01D67/00
本发明涉及过滤技术领域,尤其涉及一种石墨烯复合膜及其制备方法。石墨烯复合膜包括:石墨烯层和设于石墨烯层两侧的支撑层,石墨烯层内设有连通石墨烯层的上表面和下表面的空隙,支撑层上设有通孔,石墨烯层两侧的通孔相互错开。本方案提供的石墨烯复合膜具有更耐用,对石墨烯的利用率更高等特点。

一种柔性石墨烯屏幕及其制备方法
申请日 2022-12-05
申请公布日 2023-04-04
申请号 CN202211546167.9
申请公布号 CN115909903A
分类号 G09F9/30
本发明涉及柔性屏领域,具体涉及一种柔性石墨烯屏幕及其制备方法,柔性石墨烯屏幕包括壳体和石墨烯柔性屏,壳体上固定设有主支撑板和横向滑动连接有副支撑板,副支撑板位于主支撑板的后方,石墨烯柔性屏分为主屏区和副屏区,石墨烯柔性屏的主屏区的后侧面固定在主支撑板前侧面上,主支撑板后侧面和副支撑板前侧面之间具有屏间隙;主支撑板的后侧面设有横向的第一粘部,第一粘部的一端部位于主支撑板的端部处,副支撑板的前侧面设有第二粘部;石墨烯柔性屏的副屏区的后侧面固定设有第三粘部;屏幕为折叠状态时,石墨烯柔性屏副屏区位于屏间隙中;屏幕为展开状态时,副屏区和主屏区展开而形成一张大屏。本方案实现屏幕大小的调节。

吕海港
太原赛因新材料科技有限公司
一种复合导电炭材料的制备方法及导电碳材料
申请日 2022-11-27
申请公布日 2023-04-04
申请号 CN202211495340.7
申请公布号 CN115910479A
分类号 H01B13/00;H01M4/62;H01B1/04
为了从炭黑和碳纳米管制备导电性较好的碳材料,本发明提供一种复合导电炭材料的制备方法。把炭黑和碳纳米管按比例搅拌混合后,放在石英管中间,用石墨杆堵住连接到电源,抽真空后,电源大电流放电产生焦耳热,快速升温至石墨化温度,冷却后得到形成炭黑点导电体和碳纳米管线导电体熔接在一起的高效导电网络。这种方法只需增加很少的成本就可进行生产。

深瑞墨烯科技(福建)有限公司
复合膜及其制备方法、电子设备
申请日 2022-10-24
申请公布日 2023-04-04
申请号 CN202211305257.9
申请公布号 CN115893399A
分类号 B32B37/06;B32B18/00;B32B37/10;B32B9/00;H05K7/20
本申请涉及一种复合膜及其制备方法、电子设备,复合膜包括如下步骤制备:将涂布处理后的碳基原料涂布膜在持续加热的条件下进行预热处理、碳化处理和石墨化处理,得到复合膜。本申请中,连续的预热处理和碳化处理能够提高碳基材料分子结构的紧密度,降低后续石墨化结构的缺陷,连续的石墨化处理能够使得碳基材料在微观上进行碳碳键重排和碳碳键链接,得到更完美内部结构,从而提高复合膜的热性能。

原创文章,作者:石墨烯网,如若转载,请注明出处:http://www.graphene.tv/2023041989548/
