太原赛因新材料科技有限公司
管式反应架
申请日 2023-03-06
授权公告日 2023-06-09
申请号 CN202330093600.7
授权公告号 CN308075427S
分类号 24-02(14)
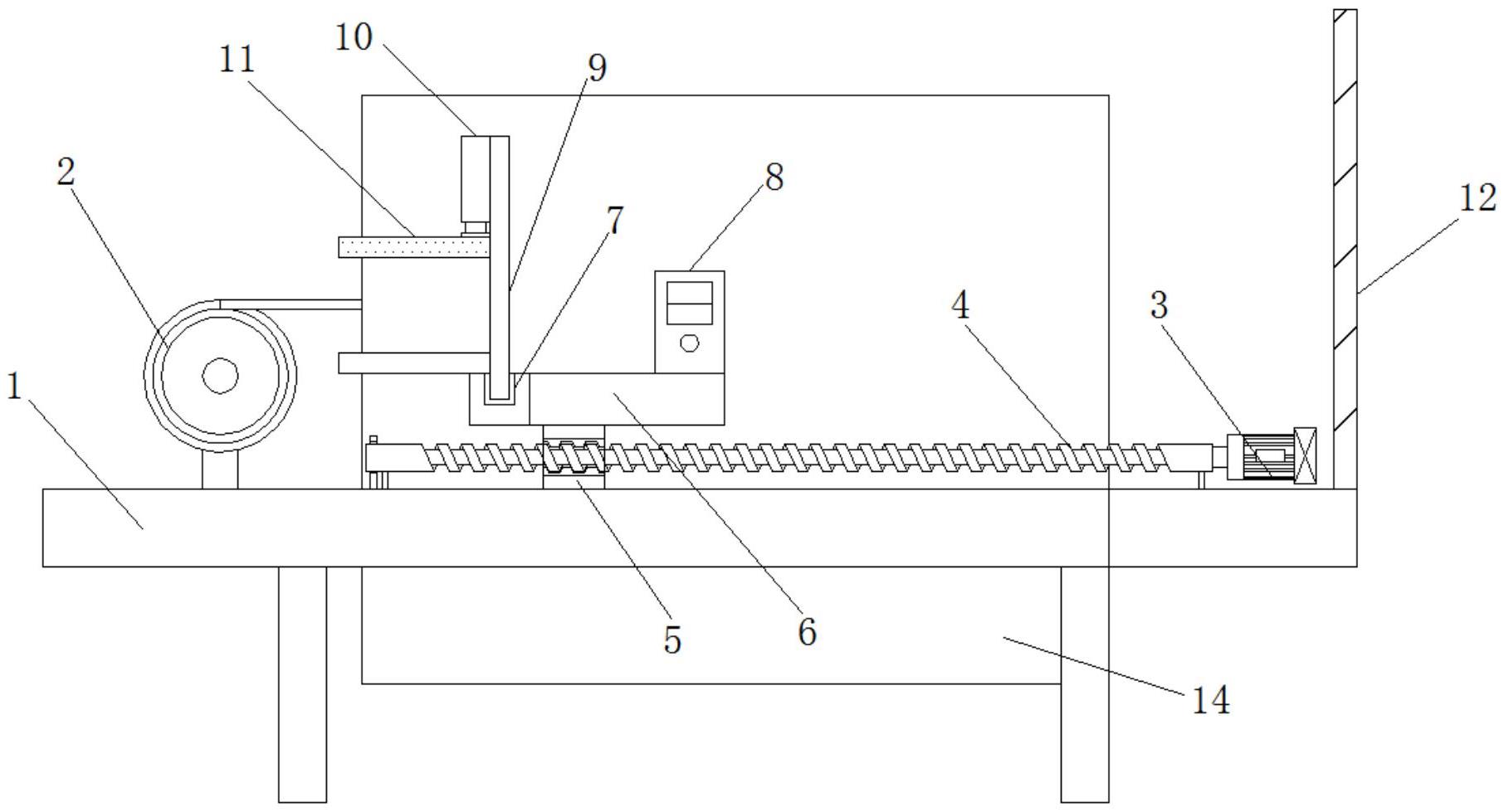
1.本外观设计产品的名称:管式反应架。2.本外观设计产品的用途:本外观设计产品用于在焦耳热进行加热的过程中支撑反应圆管。3.本外观设计产品的设计要点:在于形状。4.最能表明设计要点的图片或照片:立体图。


厦门凯纳石墨烯技术股份有限公司
一种石墨烯复合导电剂、制备方法及应用
申请日 2022-10-21
申请公布日 2023-01-17
授权公告日 2023-06-09
申请号 CN202211296383.2
申请公布号 CN115621463A
授权公告号 CN115621463B
分类号 H01M4/62
本发明公开了一种石墨烯复合导电剂、制备方法及应用,通过对石墨烯进行插层改性后再表面接枝,使得石墨烯在导电剂基体中分散良好,并在石墨烯表面形成富氮的吡啶‑哒嗪共轭结构,该结构更有利于导电通道的形成,进一步提高其导电性,并降低电阻;而且该共轭结构能够促进其与电池中的活性金属离子络合,并避免了因高工作电压和高工作温度引起正极三元材料的金属离子溶出问题,能够大大提升电池的使用寿命;本发明制得的石墨烯复合导电剂能用于锂离子电池材料的制造。
华侨大学
厦门凯纳石墨烯技术股份有限公司
一种石墨烯在PVC树脂中的分散方法
申请日 2023-03-27
申请公布日 2023-06-06
申请号 CN202310306328.5
申请公布号 CN116218100A
分类号 C08L27/06;C08K3/04
本发明属于高分子材料技术领域,具体涉及一种石墨烯在PVC树脂中的分散方法。本发明通过原位球磨剥离石墨,得到的石墨烯直接包覆在PVC树脂表面单层分散,可以降低石墨烯被进一步破碎的概率,实现石墨烯的制备与分散一体化过程。本发明提供的分散方法无需加入分散剂,实现了石墨烯在PVC树脂中的均匀分散,避免了分散剂的加入对PVC的性能产生影响。本发明既克服了石墨烯的团聚问题,又实现了石墨烯在PVC基体中的单层分散,得到的石墨烯/PVC复合材料的热稳定性和阻燃性得到明显提升。本发明实现了石墨烯在PVC树脂中的单层分散,因此可以在石墨烯含量非常低的情况下,显著提高PVC树脂的热稳定性和阻燃性能。

宁波华丰包装有限公司
一种石墨烯电磁屏蔽膜拉伸强度检测机构
申请日 2022-12-12
授权公告日 2023-06-06
申请号 CN202223340024.0
授权公告号 CN219142478U
分类号 G01N3/08;G01N3/02
本实用新型公开了一种石墨烯电磁屏蔽膜拉伸强度检测机构,包括检测平台和压板,所述检测平台的上方设有卷辊,所述卷辊外端缠绕安装有屏蔽膜,所述检测平台的上方安装有电机,所述电机的输出端连接有丝杆,所述丝杆的外端螺纹连接有移动块,所述移动块的顶端固定连接有底座,所述底座的顶端均匀开设有限位孔,所述底座的右侧安装有数值显示器,所述限位孔的内部卡合安装有连接板,所述连接板上安装有电动伸缩杆,所述电动伸缩杆与压板相连接,所述压板位于连接板的上方。该石墨烯电磁屏蔽膜拉伸强度检测机构,利用压板压紧屏蔽膜,便于调节压板的高度,便于不同厚度和不同宽度的石墨烯电磁屏蔽膜使用。

浙江道明超导科技有限公司
一种石墨烯卷材烘箱
申请日 2022-09-23
授权公告日 2023-06-02
申请号 CN202222529954.4
授权公告号 CN219120908U
分类号 F26B21/00;F26B21/06;F26B9/06;F26B25/00;F26B23/00
本实用新型公开了一种石墨烯卷材烘箱,包括控制器、外壳、至少两个的烘箱单元,烘箱单元置于外壳围成的空间内,每个烘箱单元均包括加热装置、烘箱、变频排风机、变频鼓风机、变频补新风机、通风空间,烘箱侧部、下部与外壳不抵贴并形成通风空间。各烘箱单元之间在受控制器控制时相互独立,各烘箱单元内的空气不互通,可以实现烘箱单元的单独控制,并且可以确保单个烘箱单元内的异常不会影响其他烘箱单元内的产品。并联了变频排风机与变频补新风机,达到了排风和补新风的一致性。同时也可以根据产品不同温度放热量的变化调节排风和新风量,增加产品的稳定性并且减少制造过程耗费的时间。

北京石墨烯技术研究院有限公司
碳化钛基金属陶瓷及其制备方法和应用
申请日 2022-12-01
申请公布日 2023-06-06
申请号 CN202211527620.1
申请公布号 CN116219250A
分类号 B22F9/04;B22F3/24
本申请提供一种碳化钛基金属陶瓷及其制备方法和应用,属于陶瓷技术领域。该碳化钛基金属陶瓷的原料以重量百分比计包括以下组分:石墨烯0.05%~1%、合金钢8%~20%和碳化钛79%~91.95%。合金钢中非铁金属元素的质量百分含量为22.4%~51.4%,非铁金属元素包括W、Cr、Mo、V、Co、Ni和Mn中的一种或多种。上述石墨烯、合金钢和碳化钛的配合使用能够提高碳化钛基金属陶瓷的强度、硬度和耐磨损性能。

石墨烯铜基复合材料及其制备方法和刹车片
申请日 2022-12-19
申请公布日 2023-06-06
申请号 CN202211630084.8
申请公布号 CN116219217A
分类号 B22F3/10;F16D69/02
本发明涉及一种石墨烯铜基复合材料及其制备方法和刹车片。石墨烯铜基复合材料的制备方法包括以下步骤:混合石墨烯浆体和铜基粉末,得粉体;将所述粉体压制成型,得生坯体;将所述生坯体进行真空烧结,得熟坯体;将所述熟坯体进行固溶热处理和时效热处理,得所述石墨烯铜基复合材料。该制备方法能够制得高强度、高硬度、低磨损量和高热导率的石墨烯铜基复合材料。

石墨烯-海绵电容传感器及其制备方法
申请日 2023-01-17
申请公布日 2023-06-02
申请号 CN202310061107.6
申请公布号 CN116202659A
分类号 G01L1/14
本申请涉及传感器技术领域,特别是涉及一种石墨烯‑海绵电容传感器及其制备方法。石墨烯‑海绵电容传感器的制备方法包括以下步骤:将聚合物海绵浸渍第一石墨烯溶液后进行水热反应,制备具有介电性的石墨烯改性海绵;将石墨烯改性海绵的两端分别浸渍第二石墨烯溶液和第三石墨烯溶液后进行水热反应,以使石墨烯改性海绵的两端形成具有导电性的电极层;第一石墨烯溶液、第二石墨烯溶液和第三石墨烯溶液均包括氧化石墨烯和还原剂。上述制备方法制得的石墨烯‑海绵电容传感器具有优异的透气性和整体性,且具有较高的灵敏度。

功能化石墨烯负载的Pt基合金催化剂及其制备方法和应用
申请日 2022-12-01
申请公布日 2023-06-02
申请号 CN202211526037.9
申请公布号 CN116207281A
分类号 H01M4/88
本申请涉及一种功能化石墨烯负载的Pt基合金催化剂以及制备方法和应用,其制备方法由以下步骤组成:将负载有第一金属的碳材料和石墨烯混合,得到混合物还原气体和溶剂存在下,使所述混合物和第二金属的金属盐发生还原反应,取所述还原反应后的固相物质;在惰性气体和溶剂存在下,使所述还原反应后的固相物质和Pt盐发生金属置换反应;取所述置换反应后的固相物质和有机酸混合,在惰性气体存在下煅烧。本申请提供的制备方法提高了功能化石墨烯负载的Pt基合金催化剂在酸性介质ORR中的催化性能和稳定性,更有利于其应用于质子交换膜燃料电池中。

原创文章,作者:石墨烯网,如若转载,请注明出处:http://www.graphene.tv/2023061694291/
