厦门凯纳石墨烯技术股份有限公司
用于石墨烯生长的反应装置和石墨烯制备方法
申请日 2023-02-08
申请公布日 2023-03-14
授权公告日 2023-04-25
申请号 CN202310079086.0
申请公布号 CN115784214A
授权公告号 CN115784214B
分类号 C01B32/186
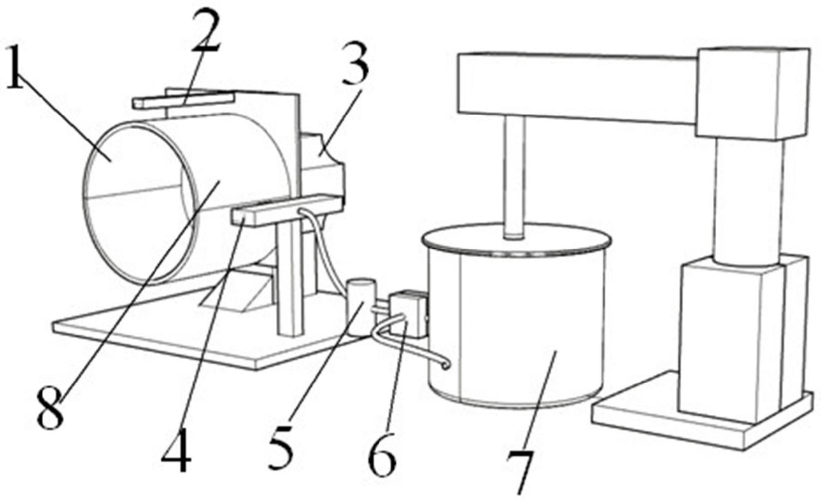
本申请涉及碳材料技术领域,特别涉及一种用于石墨烯生长的反应装置和石墨烯制备方法,反应装置包括坩埚、与坩埚匹配的坩埚盖、第一通气管、鼓泡装置和第二通气组件;坩埚盖与坩埚配合状态下,第一通气管、鼓泡装置和第二通气组件伸入坩埚的坩埚内腔中;第二通气组件设有辅助通气内腔,辅助通气内腔用于与辅助气体管道连通;第一通气管的进气端用于与含碳气体管路连通,第一通气管的出气端穿过辅助通气内腔后与鼓泡装置连通;通入鼓泡装置的含碳气体能够经由鼓泡装置释放至坩埚内腔,并形成含碳气泡;通入辅助通气内腔的辅助气体能够经由第二通气组件处理后,在第二通气组件的外壁处形成辅助气泡。本申请能够提高石墨烯产率和质量。

山东欧铂新材料有限公司
一种石墨烯及其衍生物的粉体的制备方法
申请日 2018-06-07
申请公布日 2019-12-17
授权公告日 2023-04-25
申请号 CN201810581205.1
申请公布号 CN110577210A
授权公告号 CN110577210B
分类号 C01B32/184
本发明提供了一种石墨烯及其衍生物的粉体的制备方法,包括:S1)将石墨烯水溶液或石墨烯衍生物水溶液加入至液氮中,得到固化的石墨烯或固化的石墨烯衍生物;S2)将所述固化的石墨烯或固化的石墨烯衍生物进行真空冷冻干燥,得到石墨烯粉体或石墨烯衍生物粉体。与现有技术相比,本发明先将石墨烯水溶液或石墨烯衍生物用液氮处理,再进行真空干燥,有效地解决了石墨烯及其衍生物片层的不可逆叠加及团聚的现象,从而使得到的石墨烯及其衍生物的粉体易于分散。
烯旺新材料科技股份有限公司
石墨烯发热无线眼罩
申请日 2022-12-22
授权公告日 2023-04-25
申请号 CN202230855304.1
授权公告号 CN307993671S
分类号 02-03(14)
1.本外观设计产品的名称:石墨烯发热无线眼罩。2.本外观设计产品的用途:用于缓解眼部疲劳和遮光。3.本外观设计产品的设计要点:在于形状。4.最能表明设计要点的图片或照片:使用状态立体图。

哈尔滨万鑫石墨谷科技有限公司
一种纳米石墨粉体的制备方法以及由其制备纳米石墨浆料的方法
申请日 2019-12-31
申请公布日 2020-04-10
授权公告日 2023-04-21
申请号 CN201911424534.6
申请公布号 CN110980721A
授权公告号 CN110980721B
分类号 B82Y40/00
本发明提供了一种纳米石墨粉体的制备方法以及由其制备纳米石墨浆料的方法,所述方法包括:将药柱置于爆炸容器中,抽真空后充入保护性气体,使爆炸容器内的压力不高于1000Pa;引爆药柱,爆炸容器内发生反应,产物沉降后收集容器内的粉末,筛分、洗涤,得到纳米石墨粉体。本发明所述方法采用爆炸法制备石墨粉体,利用爆炸法反应条件的独特性,控制初始气体压力来调控产物的粒径,所得产物粒径分布范围窄,均一性好;制备的纳米石墨粉体的粒径特性使之适合于纳米石墨浆料的制备,所得纳米石墨浆料均一、稳定;所述方法操作工序简单,加工时间短,可有效提高生产效率。

常州富烯科技股份有限公司
石墨均温板及其制备方法
申请日 2022-12-30
申请公布日 2023-04-25
申请号 CN202211731876.4
申请公布号 CN116007418A
分类号 F28F21/02;F28D15/02;H05K7/20
本发明提供石墨均温板及其制备方法,所述石墨均温板包括石墨板、平板热管、处理层和连接层,所述石墨板上开设有至少一个槽,所述槽用于放置所述平板热管,所述处理层覆盖在槽的内表面和/或石墨板外表面,用于提升石墨板的表面反应活性,所述连接层用于连接石墨板和平板热管。本发明解决了石墨和金属复合的问题。

石墨烯复合导热膜及制备方法
申请日 2023-01-20
申请公布日 2023-04-21
申请号 CN202310066575.2
申请公布号 CN115991013A
分类号 B32B37/06;B32B9/04;B32B7/12;B32B37/10;B32B37/12;B32B9/00
本发明提供石墨烯复合导热膜及制备方法,所述制备方法包括:制备碳纤维布;通过碳纤维布制备导热膜前驱体;上述导热膜前驱体通过热压制备石墨烯复合导热膜;其中,所述通过碳纤维布制备导热膜前驱体的步骤包括:在碳纤维布的正面和背面涂覆环氧树脂;在正面和背面的环氧树脂上复合石墨烯导热膜;不重复、重复一次或重复多次上述涂覆环氧树脂和复合石墨烯导热膜的步骤,得到多层石墨烯导热膜且相邻石墨烯导热膜之间夹有两面涂覆环氧树脂的碳纤维布的叠层结构;将上述叠层结构进行固化,得到导热膜前驱体。本发明制得的石墨烯复合导热膜同时具备优异的散热能力和强度。

制膜设备、制膜方法、石墨烯导热膜及其制备方法
申请日 2022-12-21
申请公布日 2023-04-18
申请号 CN202211650182.8
申请公布号 CN115972636A
分类号 B05B7/02;B29D7/01;B05B13/02
本发明提供制膜设备、制膜方法、石墨烯导热膜及其制备方法,制膜设备,包括旋转滚筒、加热装置和喷嘴,所述旋转滚筒的外表面用于固定成膜基材,所述加热装置和喷嘴位于所述旋转滚筒外的不同侧,所述喷嘴用于在所述成膜基材表面喷涂成膜液,所述加热装置用于对成膜基材上喷涂的成膜液进行干燥。本发明利用旋转离心的原理,在旋转滚筒的基础上采用喷嘴气动雾化喷涂旋转滚筒外表面的成膜基材,制备膜面平整、厚度均匀。

北京石墨烯技术研究院有限公司
石墨烯拉伸应变传感器及其制备方法
申请日 2022-12-05
申请公布日 2023-01-03
授权公告日 2023-04-21
申请号 CN202211545719.4
申请公布号 CN115560666A
授权公告号 CN115560666B
分类号 G01B7/16
本公开提供了一种石墨烯拉伸应变传感器及其制备方法。该石墨烯拉伸应变传感器包括石墨烯复合导电网格,石墨烯复合导电网格的网格线包括碳化材料和石墨烯材料,石墨烯材料通过碳化材料相连接,网格线上设置有多道平行且间隔排布的沟槽。通过在网格线上设置平行排布的沟槽,在应变过程中产生的微裂纹主要集中在沟槽处,因此该石墨烯复合导电网格的裂纹产生更为可控,从而有效提升该石墨烯复合导电网格的应变范围。
改性石墨烯卷及其制备方法与应用
申请日 2021-10-27
申请公布日 2022-01-04
授权公告日 2023-04-21
申请号 CN202111253224.X
申请公布号 CN113877614A
授权公告号 CN113877614B
分类号 B01J27/22
本发明涉及一种改性石墨烯卷的制备方法,包括以下步骤:将MXene材料、石墨烯和水混合,得到MXene‑石墨烯混合液,MXene材料和石墨烯的质量之和与水的体积之比为(0.1mg~1mg):1mL;将MXene‑石墨烯混合液依次进行加热、液氮冷却和冷冻干燥,得到MXene‑石墨烯卷;在MXene‑石墨烯卷的表面负载金属颗粒。该改性石墨烯卷的制备方法制得的改性石墨烯卷导电性较好,具有较好的催化性能和稳定性能。
改性石墨烯纳米卷及其制备方法和应用
申请日 2022-12-01
申请公布日 2023-04-18
申请号 CN202211525791.0
申请公布号 CN115986151A
分类号 H01M8/10
本申请涉及催化剂技术领域,特别是涉及一种改性石墨烯纳米卷及其制备方法和应用。改性石墨烯纳米卷的制备方法包括以下步骤:将包含还原性有机溶剂、贵金属源和石墨类碳材料的混合液依次进行液氮冷却和微波处理,得到负载有贵金属纳米颗粒的石墨烯纳米卷;其中,石墨类碳材料选自氧化石墨及掺杂氧化石墨中的一种或多种。上述制备方法能够有效避免石墨烯载体形成团聚结构,提升催化剂催化活性。

成都中浦石墨烯应用技术有限公司
东旭科技集团有限公司
一种改性石墨烯基环氧树脂复合材料及其制备方法和应用
申请日 2022-12-13
申请公布日 2023-04-18
申请号 CN202211604439.6
申请公布号 CN115975339A
分类号 C08L63/00;C08K3/34
本发明涉及复合材料技术领域,公开了一种改性石墨烯基环氧树脂复合材料及其制备方法和应用。该复合材料中含有环氧树脂、改性石墨烯、改性碳化硅、固化剂和促进剂,以所述复合材料的总质量为基准,所述环氧树脂的含量为30‑50wt%,所述改性石墨烯的含量为11‑27.5wt%,所述改性碳化硅的含量为5.5‑22wt%,所述固化剂的含量为24‑40wt%,所述促进剂的含量为0.3‑2wt%。本发明采用硅烷偶联剂分别对石墨烯和碳化硅进行改性,并将改性后的石墨烯和碳化硅与环氧树脂进行复配,能够显著改善环氧树脂的介电常数、导热和导电性能。
原创文章,作者:石墨烯网,如若转载,请注明出处:http://www.graphene.tv/2023050390501/
