南通恒尚新材料科技有限公司
常州第六元素材料科技股份有限公司
一种复合白油浆料及其制备方法、UHMWPE的复合纤维的制备方法
申请日 2017-07-27
申请公布日 2019-02-05
授权公告日 2023-02-28
申请号 CN201710623968.3
申请公布号 CN109306540A
授权公告号 CN109306540B
分类号 D01D5/08
本发明公开了一种复合白油浆料的制备方法,包括:1)将组分A、组分B加入到白油中,搅拌条件下,加热至第一温度并保温0.2‑3h,其中,所述组分A为抗氧剂,所述组分B为分散剂和/或改性剂;2)将步骤1)中的混合液升温到第二温度,保温至抗氧剂、分散剂和/或改性剂充分溶解,形成均匀的溶液,所述第二温度比第一温度高20‑70℃,优选高20‑50℃;3)使溶液保持第二温度,在高速搅拌下,将石墨烯粉体加入到步骤2)中得到的溶液中,持续保温至形成均匀的浆料。

重庆石墨烯研究院有限公司
一种压阻传感器及其制备方法
申请日 2022-12-04
申请公布日 2023-02-28
申请号 CN202211544246.6
申请公布号 CN115717905A
分类号 G01D5/16
本发明涉及压力传感器领域,具体涉及一种压阻传感器及其制备方法,压阻传感器,包括传感器本体,传感器本体包括柔性衬底、位于柔性衬底两端处的电极片以及位于柔性衬底上的检测网,检测网的端部位于电极片上,传感器本体还包括位于检测网表面上的弹性热涨层,弹性热涨层内分散有石墨烯颗粒;还包括给弹性热涨层进行供热的热发生机构,热发生机构位于传感器本体的外侧,热发生机构包括电控开关、电源以及电热丝,电控开关、电源和电热丝电性串联,电热丝和弹性热涨层之间连接有传热部件。本申请还公开了压阻传感器的制备方法。本方案解决了在低温环境下柔性衬底和检测网受到压力之后不易复原的问题,提高了传感器的准确度。

锂电池电极片及其制备方法
申请日 2022-12-04
申请公布日 2023-02-03
申请号 CN202211544243.2
申请公布号 CN115692607A
分类号 H01M4/13
本发明涉及锂电池技术领域,具体涉及一种锂电池电极片及其制备方法,锂电池电极片,包括基板和正极活性材料,还包括纱网,纱网上具有多个网孔,纱网由石墨烯纤维编织而成;纱网固定连接在基板一侧面上,正极活性材料涂覆在纱网远离基板的一侧,且正极活性材料填充在网孔中,位于网孔中的正极活性材料和基板接触;锂电池电极片制备方法,将石墨烯纤维编织而成的纱网粘接在基板的侧面上;然后将正极活性材料涂覆在纱网远离基板的侧面上;最后进行烘干。通过上述方案,解决了磷酸铁锂正极片低电子导电率和低锂离子扩散速率的技术问题。

山东鲁泰控股集团有限公司石墨烯高分子复合材料研发中心
一种钛网支撑钴基金属有机骨架石墨烯纳米片阵列及其应用
申请日 2021-05-07
申请公布日 2021-07-23
授权公告日 2023-02-24
申请号 CN202110495607.1
申请公布号 CN113155915A
授权公告号 CN113155915B
分类号 G01N27/12
本发明提供了一种钛网支撑钴基金属有机骨架石墨烯纳米片阵列及其应用,该石墨烯纳米片阵列制备过程为:制备过程为:采用一步热熔法制备Co‑GR/MOF,然后制备Co‑GR/MOF/TM;该应用具体为对NO2浓度检测,将该石墨烯纳米片阵列在NO2气体检测方面应用时,发现其对NO2的传感性能优异,具有良好的灵敏度、稳定性以及低检测限。

武汉汉烯科技有限公司
东莞市恒易电子科技有限公司
石墨烯泡棉零包边模具及其制作工艺
申请日 2022-10-24
申请公布日 2023-02-03
申请号 CN202211305536.5
申请公布号 CN115674647A
分类号 B29C51/44;B29C51/30;B29C33/30
本发明公开了石墨烯泡棉零包边模具,包括冲压模具、位于冲压模具下方的成型模具,所述冲压模具下侧装设有多个定位杆,所述成型模具上侧开设有与多个定位杆一一对应的定位槽,所述冲压模具上设有挤压槽,所述成型模具上设有与挤压槽相对应的放置槽,所述放置槽内弹性配合有推板,所述挤压槽弹性配合有顶板。本发明中,通过在设置的定位杆与定位槽,能便于用户通过定位杆与定位槽的插接,从而对冲压模具与成型模具之间的位置进行定位,从而提高了物料包边的效率,通过设置的推板与顶板,能在冲压模具与成型模具挤压完成后,通过弹力对挤压槽与放置槽内的物料顶出,从而便于用户取出物料,从而进一步提高了物料包边的效率。

武汉汉烯科技有限公司
一种石墨烯研磨设备
申请日 2022-10-31
申请公布日 2023-02-03
申请号 CN202211353629.5
申请公布号 CN115672491A
分类号 B08B9/087;B02C15/00
本发明公开了一种石墨烯研磨设备,包括研磨桶与顶盖,研磨桶顶部外壁与顶盖底部内壁均设置有螺纹槽,研磨桶下方设置有出料口,研磨桶内部设置有研磨锥体,研磨锥体外壁、上方与下方分别设置有研磨机构、密封机构与通堵机构,通堵机构为研磨锥体底部开设的内槽,内槽顶部固定连接有螺纹杆。本发明通过设置的通堵机构,研磨锥体转动的同时带动螺纹杆转动,使得与之啮合的螺纹套位于内槽内部上下移动,使得通堵锤在一组套筒与伸缩杆的作用下位于出料口内部上下移动,使得装置在研磨的同时完成通堵,防止潮湿的石墨块粘连在研磨桶出料口的内壁造成研磨桶堵塞,实现快速自动化通堵,避免了对研磨桶进行拆分再手动通堵,提升了通堵的效率。

常州富烯科技股份有限公司
基片、石墨烯金属复合散热材料、制备方法
申请日 2022-10-27
申请公布日 2023-02-03
申请号 CN202211328180.7
申请公布号 CN115674803A
分类号 B32B33/00;B32B37/06;B32B9/04;C23C16/06;B32B3/24;B32B9/00
本发明提供基片、石墨烯金属复合散热材料、制备方法,所述基片的制备方法,包括:在石墨烯导热片上开设多个通孔;在开设通孔后的石墨烯导热片表面附着金属层,得到石墨烯金属复合散热材料基片。本发明在石墨烯导热片开设通孔并在表面气相沉积金属层,通孔外壁也覆盖金属层,提高石墨烯导热片片层间的结合力,从而提升整体强度。

石墨烯金属复合散热翅片、散热器、制备方法
申请日 2022-10-27
申请公布日 2023-02-03
申请号 CN202211328183.0
申请公布号 CN115682810A
分类号 F28F21/02;B23K1/008;F28F21/08;F28F9/26
本发明提供石墨烯金属复合散热翅片的制备方法,包括:采用沉积法在石墨烯导热片表面沉积金属层,得到金属化石墨烯导热片;在每两片金属化石墨烯导热片之间涂覆第一连接剂并加热,形成至少一层的金属化石墨烯导热片‑第一连接层‑金属化石墨烯导热片的堆叠夹心结构;冷却上述堆叠夹心结构得到石墨烯金属复合散热翅片。本发明还提供石墨烯金属复合散热翅片、散热器及其制备方法。本发明采用在石墨烯导热片上气相沉积金属层并通过第一连接层连接,使得多层石墨烯紧密结合。

浙江道明超导科技有限公司
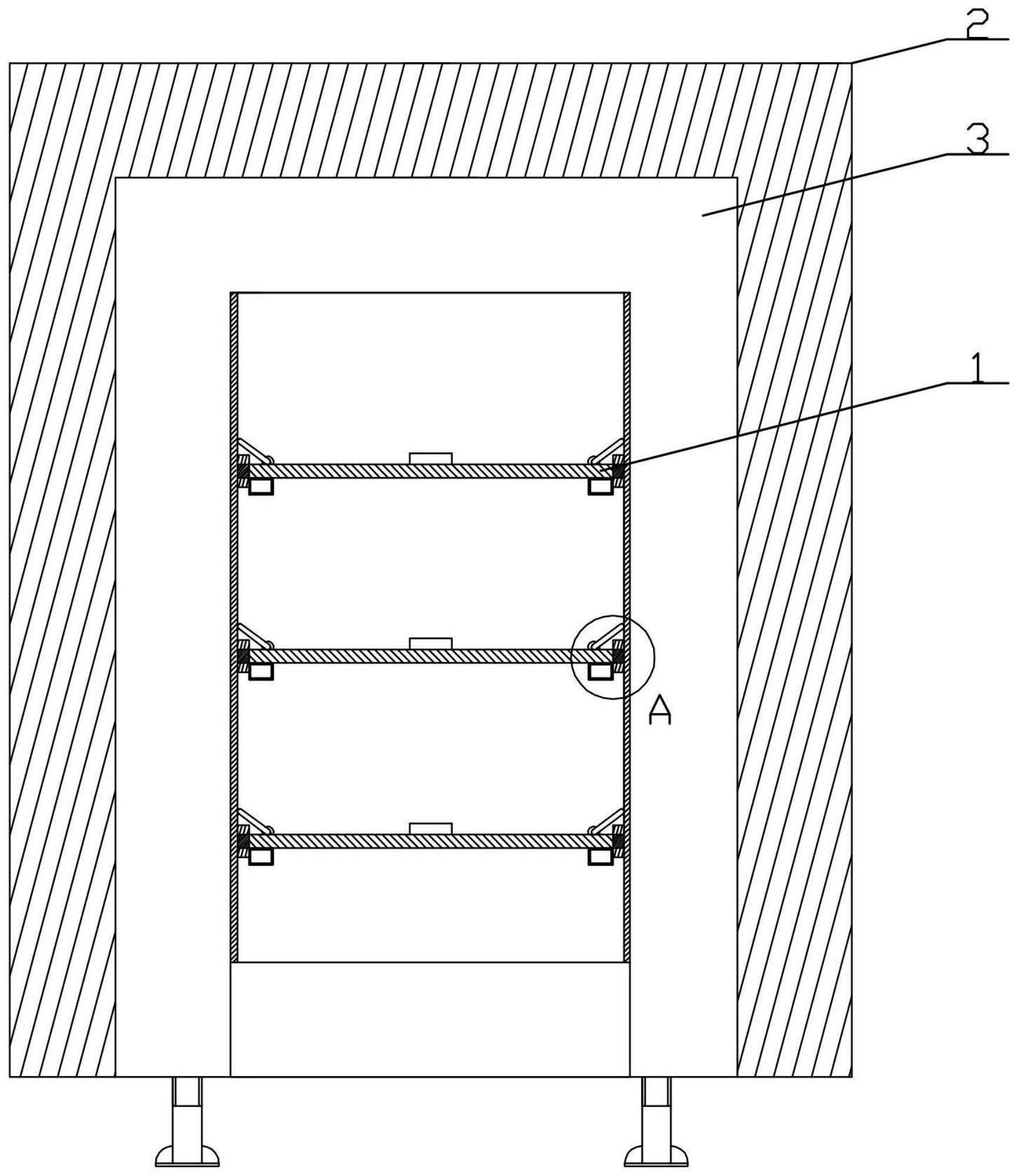
一种烘箱抽层结构
申请日 2022-11-18
申请公布日 2023-02-03
申请号 CN202211448574.6
申请公布号 CN115682659A
分类号 F26B25/06;F26B21/00;F26B9/06
本发明公开了一种烘箱抽层结构,包括抽层、烘箱,烘箱内设置有烘箱单元,烘箱单元设置有两组以上的烘箱滑轨,抽层设置有抽层滑轨,抽层滑轨与烘箱滑轨配合。通过抽层将需要烘干的产品在烘箱单元内隔开,不仅有效利用了烘箱单元内的空间,而且即使其中一层的产品出现问题也不会对其他产品产生影响,大大提高了产品的烘干效率。

山东金利特新材料有限责任公司
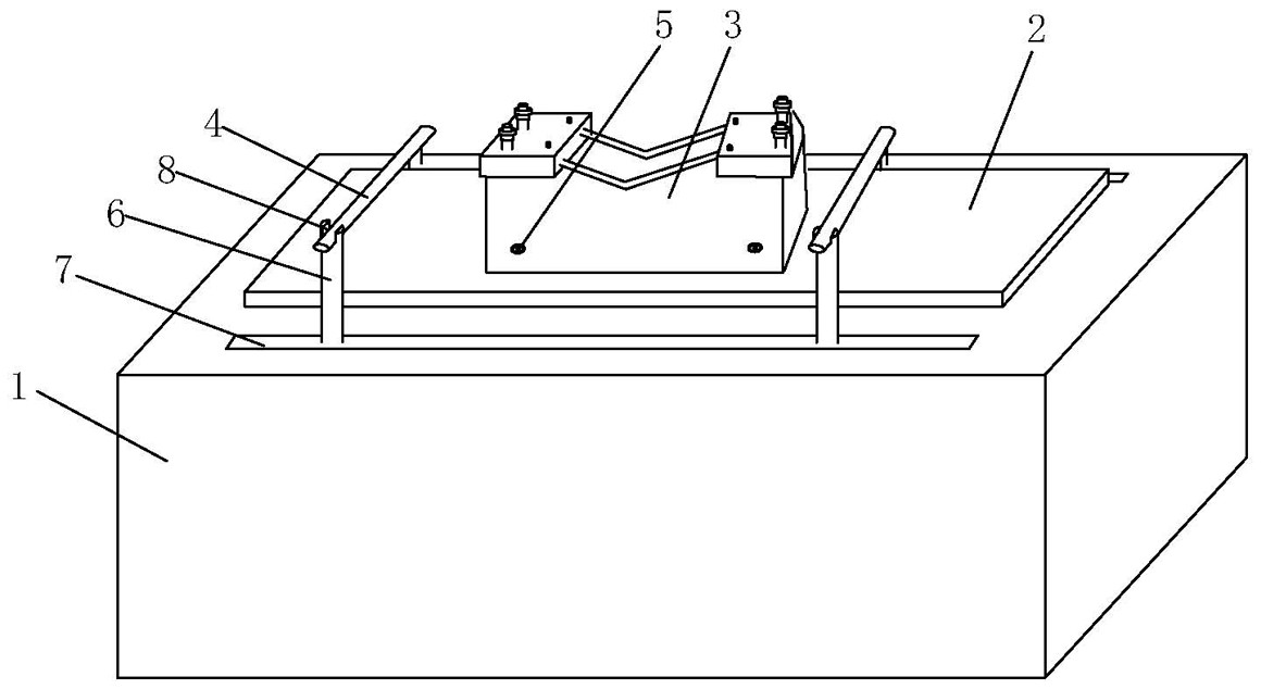
一种实验室涂膜机
申请日 2022-11-03
授权公告日 2023-02-03
申请号 CN202222920048.7
授权公告号 CN218434915U
分类号 C01B32/194
本实用新型涉及一种实验室涂膜机,属于涂膜设备领域,包括机台,机台上安装有涂膜基板,其特征在于,还包括位于涂膜基板上的刮涂机构,所述刮涂机构包括刮膜器及驱动部,所述刮膜器为由多个挡板围合形成的上端敞口、外周封闭式的结构,所述刮膜器的两侧分别设置有用于驱动其在涂膜基板上做线性运动的驱动部,刮膜器靠近驱动部的一侧设置有刮料杆,当刮膜器置于涂膜基板上时,该刮料杆底端与涂膜基板之间留有预设距离;本实用新型避免了涂膜浆料流淌导致的真空板堵塞,减少了物料的损失,而且能够往复连续涂膜,提高了涂膜效率。

原创文章,作者:石墨烯网,如若转载,请注明出处:http://www.graphene.tv/2023030787569/
