南通强生石墨烯科技有限公司
一种石墨烯消毒液及其制备方法
申请日 2020-04-14
申请公布日 2020-07-31
授权公告日 2023-03-31
申请号 CN202010291130.0
申请公布号 CN111470502A
授权公告号 CN111470502B
分类号 A01N59/00;A01P1/00
本发明公开了一种石墨烯消毒液及其制备方法,该方法包含步骤1,制备水溶性石墨烯分散物;步骤2,制备水溶性石墨烯分散液;步骤3,将分散剂加入到步骤2所得的水溶性石墨烯的溶液中,搅拌均匀;步骤4,继续向溶液中加入表面活性剂,持续搅拌至均匀,再消泡;步骤5,静置降温至室温,并灌装在容器中,制得石墨烯消毒液。本发明还提供了通过该方法制备的石墨烯消毒液。本发明采用的主要成分包括水溶性石墨烯、食品级分散剂、食品级表面活性剂和去离子水。该消毒液具有绿色环保、杀菌效果好、抑菌时间长、无刺激性气味,且生产成本低等特点,可应用在日常生活区域或者公共场所。
深圳国昂高科新能源有限公司
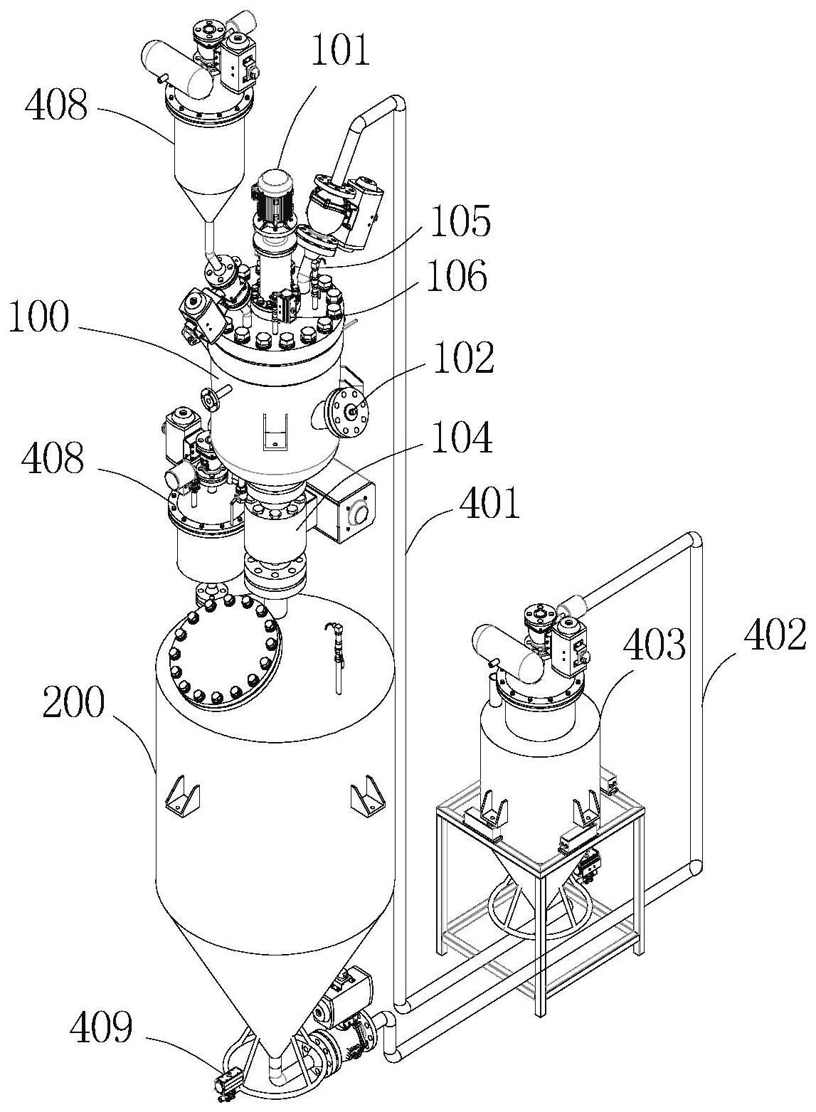
一种石墨烯超临界高压超声反应装置及制备石墨烯的方法
申请日 2022-12-13
申请公布日 2023-03-31
申请号 CN202211616531.4
申请公布号 CN115869854A
分类号 B01J3/00;B01J19/18;B01J3/02;B01J3/04;B01J19/10
一种石墨烯超临界高压超声反应装置及制备石墨烯的方法,其中,石墨烯超临界高压超声反应装置包括反应釜、剥离釜、超临界CO2供给分系统和负压上下料分系统,所述超临界CO2供给分系统的供料端和负压上下料分系统的供料端分别与反应釜的进料口连接,所述反应釜配设有机械搅拌装置、加热装置、高压超声装置、压力传感器和温度传感器;所述反应釜与所述剥离釜均为密闭结构,剥离釜的进料口与反应釜的出料口之间通过释放球阀连接,反应釜与剥离釜的容积比为1:5~30,剥离釜的出料口与负压上下料分系统的收料端连接。本发明的石墨烯超临界高压超声反应装置采用负压上下料,不仅结构简单,便于操控,且便于实现规模化工业生产。

德阳烯碳科技有限公司
一种石墨烯加热垫
申请日 2022-09-20
申请号 CN202222482759.0
授权公告日 2023-03-24
授权公告号 CN218735044U
分类号 H05B3/34;H05B3/02
本实用新型公开了一种石墨烯加热垫,包括保护套和封装于保护套内的石墨烯加热层,所述石墨烯加热层包括正极导线、负极导线和石墨烯加热带,石墨烯加热带呈蛇形状设置,正极导线、负极导线分别固定在石墨烯加热带的两端。该石墨烯加热垫创新地将发热体设置为蛇形状结构,有效地解决了现有加热垫不能或不便于避开开孔或开缺口,以及发热效果较差和实用性差的技术问题。
武汉汉烯科技有限公司
一种石墨烯基人工漫散射控制超表面
申请日 2022-11-01
申请公布日 2023-03-21
申请号 CN202211354119.X
申请公布号 CN115832711A
分类号 H01Q15/24;H01Q15/00
本发明公开了一种石墨烯基人工漫散射控制超表面,包括介质基板、所述介质基板上方设置有相位控制单元,所述介质基板的下方设置有谐振单元,所述谐振单元的下方设置有隔离板,所述隔离板的下方设置有接地板,所述石墨烯基人工漫散射控制超表面通过改变谐振单元的长度实现漫反射频率的控制。本申请中设置有介质基板、相位控制单元、谐振单元、隔离板和接地板结构,有益效果如下:(1)首次以导电石墨烯宏观薄膜为导体材料设计人工漫散射控制超表面,具有轻质化、耐腐蚀、环境友好等特性;(2)该石墨烯频率可重构滤波天线具有良好的滤波特性和谐波抑制能力,具备应用到选择性电磁隐身、天线罩和超宽带系统中的潜力。

常州富烯科技股份有限公司
石墨烯导热膜及其制备方法
申请日 2022-12-29
申请公布日 2023-03-24
申请号 CN202211742279.1
申请公布号 CN115838167A
分类号 H05K7/20
本发明提供一种石墨烯导热膜及其制备方法,包括:将氧化石墨烯和催化剂溶剂混合,搅拌匀质后得到氧化石墨烯浆料;将所述氧化石墨烯浆料涂布于基材上并送入烘箱中,得到干燥的氧化石墨烯膜;将干燥的所述氧化石墨烯膜依次送入低温炉、中温炉和高温炉中,通入保护气体并进行至少两次石墨化处理,自然冷却后得到石墨烯导热膜。在制备氧化石墨烯阶段加入催化剂,使催化剂与氧化石墨烯的结合更加有效更加深入,且该种方式的添加操作上更为简单。在浆料中加入催化剂有利于对石墨烯片层的组装,能够提高后期还原为石墨烯导热膜的导热性能,使其能够为电子产品提供良好的散热效果。
石墨烯基均温板及其制备方法
申请日 2022-12-30
申请公布日 2023-03-21
申请号 CN202211740426.1
申请公布号 CN115835602A
分类号 H05K7/20
本发明提供石墨烯基均温板及其制备方法,石墨烯基均温板包括外壳、吸液芯、液态工质和立柱,所述外壳呈空腔,所述立柱用于支撑所述空腔,所述液态工质和所述吸液芯设置在所述空腔内,所述外壳的基材为石墨烯导热片或石墨烯泡沫片。本发明所述石墨烯基均温板的外壳以石墨烯导热片或石墨烯泡沫片为基材,导热性能良好,石墨烯基均温板不存在无效区。

定向氧化石墨烯膜及其制备方法
申请日 2022-12-29
申请公布日 2023-03-21
申请号 CN202211715270.1
申请公布号 CN115818633A
分类号 C01B32/198
本发明提供一种定向氧化石墨烯膜及其制备方法,包括:制备氧化石墨烯浆料并进行消泡;将所述氧化石墨烯浆料涂布在基材上;对涂布在所述基材上的所述氧化石墨烯浆料进行干燥,并向其施加电场,得到氧化石墨烯膜;将所述氧化石墨烯膜从所述基材上剥离下来并分切,得到定向氧化石墨烯膜。在氧化石墨烯膜制备的过程中引入了电场,通过电场与氧化石墨烯的特性结合,实现氧化石墨烯的定向。氧化石墨烯具有带负电的特性,通过电场与氧化石墨烯的相吸或相斥实现氧化石墨烯的方向的调整,使氧化石墨烯整体实现定向,且该步骤穿插于氧化石墨烯浆料干燥的步骤中,避免了其他因素对于氧化石墨烯方向的影响,使得制备出的氧化石墨烯膜的性能稳定。

重庆石墨烯研究院有限公司
一种石墨烯过滤薄膜及其制备方法
申请日 2022-12-16
申请公布日 2023-03-31
申请号 CN202211621215.6
申请公布号 CN115869786A
分类号 B01D69/10;B32B9/04;B01D71/02;B01D69/02;B01D67/00;B32B9/00;B32B33/00;D01D5/04;B32B27/30;B32B27/02;D01F9/00;B32B27/32;B32B27/28;B32B27/06;B32B27/36
本发明涉及过滤技术领域,尤其涉及一种石墨烯过滤薄膜及其制备方法。所述石墨烯过滤薄膜包括依次设置的第一无纺布层、石墨烯层和第二无纺布层,各层之间在连接处相互嵌入,石墨烯层中的石墨烯重量百分比≥90%。本方案提供的石墨烯过滤薄膜可增大石墨烯与外界接触的面积,从而可更好地发挥石墨烯的吸附和过滤作用。

一种卷对卷石墨烯薄膜生产系统
申请日 2022-11-18
授权公告日 2023-03-31
申请号 CN202223063256.6
授权公告号 CN218779017U
分类号 C23C16/26;C23C16/54
本实用新型涉及石墨烯薄膜制备技术领域,公开了一种卷对卷石墨烯薄膜生产系统,包括竖向设置的高温工艺腔以及连接于高温工艺腔上的供气单元,高温工艺腔的顶部和底部分别设有进料过渡腔和出料过渡腔,进料过渡腔与高温工艺腔之间设有用于关闭高温工艺腔顶部的进料密封组件,出料过渡腔与高温工艺腔之间设有用于关闭高温工艺腔底部的出料密封组件,进料过渡腔、高温工艺腔和出料过渡腔内竖向滑动连接有滑动座,滑动座上连接有用于固定衬底的固定装置。本实用新型专利解决了现有技术中石墨烯薄膜生产时效率低且容易发生烫伤的问题。

一种石墨烯电池
申请日 2022-11-08
授权公告日 2023-03-31
申请号 CN202222965397.0
授权公告号 CN218783098U
分类号 H01M10/613;H01M10/625;H01M10/653;H01M10/617;H01M10/6572;H01M10/654
本实用新型涉及电池技术领域,具体涉及一种石墨烯电池,包括电池壳体,电池壳体包括内层、石墨烯导热层以及外层,石墨烯导热层位于内层和外层之间;内层远离外层的侧面的边缘处设有装配槽,内层设有装配槽的部位为薄部,外层的边缘端部为弯折部,弯折部包裹在内层的薄部并弯折于装配槽中。本方案提高了电池外壳的导热能力,使得电池内部产生的热量向外部传导更快而利于电池散热。

一种石墨烯蒸发结构及其制备方法
申请日 2022-12-19
申请公布日 2023-03-28
申请号 CN202211634364.6
申请公布号 CN115845411A
分类号 B01D1/00;B01D1/30
本发明涉及蒸发技术领域,尤其涉及一种石墨烯蒸发结构及其制备方法。石墨烯蒸发结构包括:隔热板、设于隔热板的上表面的石墨烯纤维层和设于隔热板的侧表面的吸水纤维层,吸水纤维层的上缘延伸到隔热板上表面并与石墨烯纤维层相连,吸水纤维层的下缘延伸到隔热板侧表面的下缘或以下,隔热板的密度小于水的密度。本方案提供的石墨烯蒸发结构可提高能量的利用率和蒸发效率。

一种石墨烯过滤板及其制备方法
申请日 2022-12-09
申请公布日 2023-03-28
申请号 CN202211576891.6
申请公布号 CN115845499A
分类号 B01D39/20
本发明涉及过滤技术领域,尤其涉及一种石墨烯过滤板及其制备方法。所述石墨烯过滤板包括基板,基板上设有过滤孔,过滤孔中设有石墨烯过滤单元,石墨烯过滤单元覆盖过滤孔。该石墨烯过滤板具有更长的使用寿命,可降低维护成本。

一种石墨烯肩颈理疗按摩仪及理疗方法
申请日 2022-12-07
申请公布日 2023-03-28
申请号 CN202211567176.6
申请公布号 CN115844714A
分类号 A61H23/02;A61M37/00;A61H39/04;A61F7/00;A61H7/00
本发明公开了一种石墨烯肩颈理疗按摩仪及理疗方法,理疗仪设有与人体大椎穴接触的定位部,定位部上端朝向人体头部伸出有第一按摩部,定位部沿人体肩背的两侧均伸出有第二按摩部,第二按摩部横向的端部均伸出有固定绑带,固定绑带可与人体的肩膀固定。采用本发明,理疗仪通过设置的两个按摩部对人体的对应位置进行按摩,按摩时,通过定位部与大椎穴接触进行定位,以保证理疗仪按摩穴位的准确度,有利于使用者肩颈不适的缓解;此外,通过设置固定绑带,对人体的肩部起到一定的约束效果,有利于不良姿态的纠正,且固定绑带从第二按摩部的端部伸出,固定绑带可起到将第二按摩部压紧在背部的作用,以提高第二按摩部的按摩效果;方法基于理疗仪进行。

一种三维压力传感器及其制备方法
申请日 2022-12-12
申请公布日 2023-03-17
申请号 CN202211589273.5
申请公布号 CN115808262A
分类号 G01L5/162
本发明涉及压力传感器技术领域,公开了一种三维压力传感器及其制备方法,包括底层和平行设置于底层上方的顶层,由顶层向底层依次连接有触发器和正向石墨烯检测器,底层上连接有高度低于顶层的柔性支撑部,柔性支撑部中部开有安装槽,正向石墨烯检测器位于安装槽内,正向石墨烯检测器与柔性支撑部之间连接有至少四个周向石墨烯检测器;顶层与柔性支撑部之间连接有供顶层在垂直于柔性支撑部所在平面内移动的导向连接件。本发明专利利用正向石墨烯检测器以及周向石墨烯检测器对顶层受到的三维压力进行检测,并利用导向连接件对顶层提供导向,解决了现有技术中三维压力传感器检测误差较大的问题。

北京石墨烯技术研究院有限公司
石墨烯润滑添加剂及其制备方法和润滑油
申请日 2022-11-25
申请公布日 2023-03-17
申请号 CN202211487335.1
申请公布号 CN115806850A
分类号 C10M169/04;C10M161/00
本发明涉及一种石墨烯润滑添加剂及其制备方法和润滑油。石墨烯润滑添加剂的制备方法包括以下步骤:混合氧化石墨烯、氧化铝和第一分散液,以形成所述氧化石墨烯负载于所述氧化铝之上的复合体,得分散有所述复合体的第一混合液;混合无机金属粉和第二分散液,得第二混合液;混合所述第一混合液和所述第二混合液,以使所述无机金属粉负载于所述复合体之上。该制备方法制得的石墨烯润滑添加剂抗磨减摩性能非常优异。

厦门凯纳石墨烯技术股份有限公司
一种石墨烯散热膜及其制备方法
申请日 2021-12-31
申请公布日 2022-04-29
授权公告日 2023-03-17
申请号 CN202111677162.5
申请公布号 CN114408908A
授权公告号 CN114408908B
分类号 H05K7/20
本申请涉及散热材料技术领域,特别涉及一种石墨烯散热膜及其制备方法。方法包括:S1:将膨胀石墨与含有剥离助剂的溶剂混合,剥离处理,得到石墨烯浆料A;S2:将氧化石墨与含有氨水的溶剂混合,剥离处理,得到氧化石墨烯浆料B;S3:将石墨烯浆料A与氧化石墨烯浆料B按1:1~1:6的质量比混合,进行二次剥离,得到混合石墨烯浆料;S4:对混合石墨烯浆料进行脱泡处理,并将脱泡处理后的混合石墨烯浆料涂布在基材上,形成薄膜,在50‑150℃的温度下干燥,剥落后得到石墨烯膜;S5:将石墨烯膜置于惰性气氛环境中进行石墨化处理,得到石墨烯化的石墨烯膜;S6:对石墨烯化的石墨烯膜进行压延处理,得到石墨烯散热膜。本申请能够有效提高材料散热性能和成品率。

山东欧铂新材料有限公司
一种石墨烯类材料分散液贮存稳定性的快速检测方法
申请日 2018-12-13
申请公布日 2020-06-23
申请号 CN201811526717.4
申请公布号 CN111323417A
授权公告日 2023-03-21
授权公告号 CN111323417B
分类号 G01N21/84
本发明提供了一种石墨烯类材料分散液贮存稳定性的检测方法,包括以下步骤,首先对石墨烯类材料分散液进行金相检测,得到石墨烯类材料在分散液体系中的分散状态和/或形貌情况;然后将石墨烯类材料分散液进行离心处理后,得到离心液;检测离心液底部是否存在结块和/或是否存在分层现象;再对上述步骤得到的离心液进行搅拌后,取离心液下层进行金相检测,得到离心液下层的石墨烯类材料在分散液体系中的分散状态和/或形貌情况;最后将两步中的金相检测结果进行比对,判断石墨烯类材料分散液的贮存稳定性。该快速检测方法,通过简单的离心分离和搅拌的方法,能够快速检测石墨烯类材料分散液的分散性,特别是长时间存储后的分散性和稳定性。
一种锂离子电池石墨烯/软碳负极材料及其制备方法、锂离子电池
申请日 2018-06-07
申请公布日 2019-12-17
授权公告日 2023-03-17
申请号 CN201810580449.8
申请公布号 CN110581275A
授权公告号 CN110581275B
分类号 H01M4/583;H01M10/0525
本发明提供了一种软碳复合负极材料,包括软碳颗粒和石墨烯;所述石墨烯包覆在所述软碳颗粒表面。本发明选择了表面覆碳的技术方案,采用了导电性优异的石墨烯与软碳颗粒进行复合,并且实现了石墨烯均匀包覆软碳颗粒,在保持软碳自身高倍率和高循环寿命的前提下,具有能量密度高和首次充放电效率高的优势,在锂离子电池负极领域具有良好的应用前景。同时,本发明提供的制备工艺温和简单,易操作,污染小,适于工业化大生产。
原创文章,作者:石墨烯网,如若转载,请注明出处:http://www.graphene.tv/2023040288427/
